trefwoorden:
funderingsherstel, stalen buispalen, opvangconstructie, garage, serre, tuinmuur, aanbouw, verzakking, vijzelen, opvijzelen

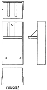
FUNDERINGSHERSTEL MET CONSOLES

Voor het ondervangen van een bestaande constructie op palen kan gebruik gemaakt worden van diverse typen stalen consoles, bijvoorbeeld een console zoals hierboven afgebeeld.

Type 1:
Na het indrijven van de palen wordt de console met ingelijmde ankers aan de betonconstructie bevestigd. Tussen de paal en de console kan een vijzel worden geplaatst om een voorspanning aan te brengen of om de constructie op te vijzelen.

Type 2:
Na het indrijven van de palen wordt de console bevestigd aan de paal en aan de onderzijde van de fundering aangedrukt met behulp van een vijzel.

Na het verwijderen van de vijzel wordt de console ingebetonneerd. Consoles worden toegepast bij lichte gewapend betonnen constructies, bijvoorbeeld garages, schuren, een aanbouw aan een huis, of versterking van een bestaande fundering. Constructies met consoles worden toegepast voor belastingen tot ca. 250 kN.

documentatieblad in pdf-formaat (meer geschikt voor afdruk op papier)

Wijzigingen voorbehouden

hoofd-pagina